Vytvorené: 20. 12. 2025 Tlačiť

Vznik 3-fázového napätia
x
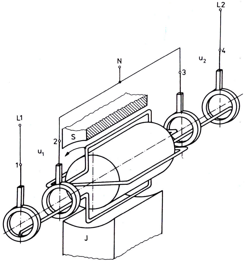
Vznik 2-fázového napätia
 
Generátor
 
Generátor
x    
 
Časový diagram napätí
 
Priebeh 2-fázového napätia
x    
   
Fázorový diagram napätí
   
Hodnotenie užitočnosti článku:


    Umela inteligencia Novy narodopis Teoria poezie 3D-tlac Arduino Nove rekordy Prudove chranice Robotika Priemysel 4.0 a 5.0 Dejiny Slovenska do roku 1945 ang_znacky_fluidsim LOGOSoftComfort Novinky Historia elektromobilov Free e-kurzy Elektrina pre ZŠ Druhá svetová vojna Cvičebnice O troch pilieroch EP je spat Prehlad Fyzika Prehlad Informatika Ako sa učiť a ako učiť Dejiny sveta

     

    · Simulácie z fyziky 
    · O Slovensku po slovensky 
    · Slovenské kroje
    · Kurz národopisu
    · Diela maliarov
    · Kontrolné otázky, Domáce úlohy, E-testy - Priemysel
    · Odborné obrázkové slovníky
    · Poradňa žiadaného učiteľa
    · Rýchlokurz Angličtiny
    . Rozprávky (v mp3)
    · PREHĽADY (PRIBUDLO, ČO JE NOVÉ?)
    Seriály:
    · História sveta (1÷6)
    · História Slovenska (1÷5)
    · História módy (1÷5).

                                       
    Členstvo na portáli
    Mám účet a chcem sa prihlásiť Prihlásiť sa
    Nemám účet, ale chcel by som ho získať Registrovať sa
    Poznámka pre autora

    Ak ste na stránke našli chybu, dajte nám vedieť


    Copyright © 2013-2026 Wesline, s.r.o. Všetky práva vyhradené. Mapa stránky ako tabuľka | Kurzy | Prehľady